Magyar
Angol
Szlovák
Mezőgazdasági gépalkatrészek a Vektor Parts-tól.
A megrendelés menete
Kapcsolat
Választható gyártók
Partnerkapcsolat: mezőgazdasági gépek
Alkatrész kereső
Szabadszavas keresés
Keresés
Bejelentkezés
Belépés
Regisztráció »
Ismerje meg partnereink forgalmazott gépeit
Szántóföldi növénytermesztés gépei
Szőlő - gyümölcs termelés gépei
Burgonya - gyökérzöldség termelés gépei
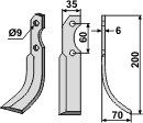
Fräsmesser, rechte Ausführung
Cikkszám: soil-1407059714
Súly: 0.330kg
Rendelhető
€ 6,06
db
Ajánló
Fräsmesser, rechte Ausführung
€ 4,23
db
Fräsmesser, rechte Ausführung
€ 8,09
db
Fräsmesser, rechte Ausführung
€ 6,16
db
Fräsmesser, rechte Ausführung
€ 6,81
db
Áraink az ÁFÁ-t nem tartalmazzák.
visszalépés az előző oldalra
TATRA-SAVARIA invet s.r.o
Cím: Hlavná 979/23, 924 01 Galanta
Telefon: +36 70 375 4806
E-mail:
A megrendelés menete
|
ÁSZF
|
Kapcsolat
|
Választható gyártók |
Partnerkapcsolat: mezőgazdasági gépek
webáruház készítés Győr